欢迎光临~温州世洁流体设备有限公司
语言选择: 中文版 ∷  英文版

卫生级视镜/清洗器

  • 焊接旋转式清洗球
焊接旋转式清洗球

焊接旋转式清洗球

应用:
旋转式清洗球:是一种旋转喷头,它使用清洁剂对储罐进行全面清洗和喷射。由于此设备在低压下使用的洗涤液量较少,因此它是传统固定喷球的一种有效替代产品。旋转头中采用双滚珠轴承,这使该类型清洗球系列适用于所有卫生级和工业级清洗应用领域,包括储罐、反应器和容器等所有卫生级和工业级用品的清洗任务。
工作原理:
旋转式清洗球:清洗液通过自身的动力使清洗球喷头旋转,扇形喷流在整个储罐会反应皿中形成涡流,由此有效的清除留在容器表面的残余产品,达到清洁作用。
设计标准:
公司生产的清洗球系列均符合DIN,3A,SMS,ISO/IDF等生产标准。
材料:
接头:304/316L

喷头:304/316L

DIN

ΦB

3A

ΦB

SMS

ΦB

ISO

ΦB

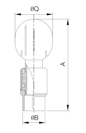
A

Q

DN10

18.0

1/2"

12.7

12.7

12.7

Φ12.7

12.7

110.0

70.0

DN20

22.0

3/4"

19.05

19

19.05

Φ19

19.1

137.0

53.0

DN25

28.0

1"

25.4

25

25.4

Φ25

25.4

143.0

53.0

DN32

34.0

1 1/4"

31.8

32

31.8

Φ32

31.8

145.0

53.0

DN40

40.0

1 1/2"

38.1

38

38.1

Φ38

38.1

145.0

53.0

DN50

52.0

2"

50.8

51

50.8

Φ51

50.8

180.0

76.0

DN65

70.0

2 1/2"

63.5

63

63.5

Φ63

63.5

200.0

76.0