欢迎光临~温州世洁流体设备有限公司
语言选择: 中文版 ∷  英文版

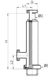
卫生级过滤器

  • 螺纹角式过滤器
螺纹角式过滤器

螺纹角式过滤器

应用:
过滤器系列是一种卫生级过滤器,主要用于过滤液体中带有的固体颗粒,保护泵、仪器仪表和其它设备的正常工作。因其结构合理、过滤以及密封能力强、压损小何维修方便等特点,广泛应用于酿酒,饮料,制药和乳制品等领域。
工作原理:
当带有较大固体颗粒或杂质的介质通过过滤器时,这些较大的固体颗粒和杂质会被过滤而停留在一定规格的滤芯内,从而阻止了这些固体颗粒和杂质进入后续管道,过滤后的介质则由出口流出,达到使用要求。
标准设计:
我们能提供“Y型”过滤器,焊接以及螺纹,快装等连接方式的直通过滤器。当滤芯需要清洗或滤芯损坏时:“Y型”过滤器只需取下由任接头,取出滤芯,便可清洗或更换,焊接直通过滤器需被拆下,然后将滤芯取出,清洗或更换,从新安装好方可使用。
材料:
钢制部件:不锈钢304,316L
密封件:EPDM或NBR
技术参数:
工作压力:0~10bar
工作温度:-20~+135°

温度范围:-10℃至250℃

DIN

D

G

SMS

D

G

H

B

L1

L2

DN25

28.0

RD52X1/6

25

25.4

RD40X1/6

360.0

114.0

95.0

95.0

DN32

34.0

RD58X1/6

32

31.8

RD48X1/6

360.0

114.0

95.0

95.0

DN40

40.0

RD65X1/6

38

38.1

RD60X1/6

360.0

114.0

95.0

95.0

DN50

52.0

RD78X1/6

51

50.8

RD70X1/6

390.0

125.0

109.0

110.0

DN65

70.0

RD95X1/6

63

63.5

RD85X1/6

460.0

138.0

125.0

125.0

DN80

85.0

RD110X1/4

76

76.2

RD98X1/6

530.0

148.0

134.0

145.0

DN100

104.0

RD130X1/4

102

101.6

RD125X1/4

655.0

178.0

160.0

165.0